「仕口・継手とは」
私達の周囲に於いて木造建築は、古来から現在まで大工、棟梁によって永々と引継がれ、その知恵と技術を集積されて来ました。建築基準法の制定と共に在来工法の建物となって、今また低コスト化による仕口・継手がプレカット工法となり必ず構造金物を必要とします。金物がハバを利かすことで伝統的木造工法による理に適った仕口・継手が御座なりになってきています。
伝統的木造工法による仕口・継手をこれからも継承して行きたいものです。
仕口とは・・・2本以上の材を直角または角度をもって組み合わせること

継手とは・・・2本の材を長手方向に継ぎ合せること

仕口、継手の種類は数限りなく非常に多いが、重要なことはその強度である。それから見場が良いこと、経年による伸縮やねじれ・狂いを見越した配慮が要求されることであり、ほとんど金物を必要としなかった。壁中で金物による接合を行なうと、金物に結露が生じ、腐食や木材の腐朽の原因となっている。
伝統的仕口、継手を見直すべきであろう。
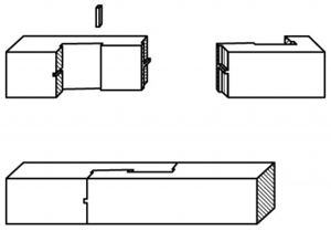
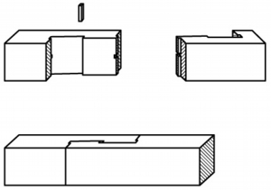
文化財の保存修理で良く使用される代表的な仕口、継手を数例紹介する。
1.腰掛け蟻継ぎ
2.腰入れ目違蟻継ぎ
3.鎌継ぎ(腰入れ目違い)
4.追掛大栓継ぎ
使用箇所:桁、母屋、土台
5.金輪継ぎ
6.尻挟み継ぎ
7.十文字目違い継ぎ
8.襟輪小根枘差し
使用箇所:土台の仕口
9.隅留枘
使用箇所:土台の仕口
10.長枘差し込み栓打ち
使用箇所:柱と桁及び土台
11.足固め二方差し腰付込み栓打ち
(三方差し・四方差し)
使用箇所:床組
12.大入れ蟻掛け
使用箇所:大梁、小梁
13.台持ち継ぎ
使用箇所:梁の継ぎ手
14.かぶと蟻掛
使用箇所:軒桁と小屋梁
15.京呂渡りあご
使用箇所:小屋組
16.寄せ蟻(カワシ蟻)
使用箇所:小屋梁と小屋束、吊束と鴨居
17.襟輪欠き
使用箇所:柱と長押
18.隅襟留二枚枘
使用箇所:柱と長押
19.矩折目違い大入れ遣り返し
使用箇所:床框、落し掛け
20.大入れ片方肘付隠し釘打ち
使用箇所:柱と鴨居
21.目違い入れ隠し釘打ち
(千切入れ隠し釘打ち)
使用箇所:柱と中鴨居
22.包み目違い入れ片方横栓打ち
使用箇所:柱と敷居
23.吸付桟
使用箇所:敷居下部他
24.引き独鈷
使用箇所:雨戸敷居等
25.箱目違い継ぎ車知栓打ち
使用箇所:鴨居、茅負
以上、代表的なものを表示した。
但し新築や全分解修理時は自由に仕口と継手が実施出来るが、半分解修理などでは臨機応変にいろんな組み合わせでの実施が求められている。
☆半分解時の胴差の継ぎ手(1例)
内部側は目違い入れは可であるが、外部
側は包み目違いとする。
外側は雨切れを早く、良くするために包み目違いとするわけである。


